作者:紅星機器時間:2010-10-08更新時間:2010-10-08
如果您想了解我們的產品,可以隨時撥打我公司的銷售熱線或點擊下方按鈕在線咨詢價格!
立即撥打電話享更多優惠:0371-67772626
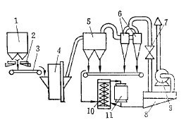
北京某礦有我國第一座采用閉路干式自磨、干式磁選工藝的選礦廠。閉路干式自磨系統如圖1所示。原礦經粗碎到300-0毫米后,由皮帶運輸機1運到中間礦倉2,借礦石在皮帶運輸上卸落過程中慣性力的作用,粗細礦石產生一定程度的分級,將其分開貯存。然后用電振給礦機3把分別貯存在兩個礦倉中的礦塊按一定比例搭配(即偏析配比),給入自磨機5進行磨碎。被粉碎的物料在主風機10(主風機的作用是使調節好的空氣流在自磨機和分級機內循環并運輸物料)造成的強大風力作用下被連續排出,沿著管道進入沉降箱6進行第一次分級,較粗的顆粒便沉降下來。
細小的物料繼續進入旋風分離器7,進行第二次分級,這時絕大部分細小物料都沉降。已在沉降箱和旋風分離器中沉降的物料靠鎖氣器8間斷排出,貯存在粉礦倉9中,以便進行干式磁選。未被收集的微細物料在閉路風路系統中循環。閉路系統中主風機出口到磨機入口段,其靜壓值有部分為正壓,粉塵易從這一段逸出。為使主風路系統在負壓條件下工作,防止灰塵溢入室內漫延,減少微細物料和水分在主風路系統中造成惡性循環,設有副風路系統。副風路系統設在主風機與自磨機之間,由文氏管11洗滌器12及輔風機13組成。經副鳳路系統凈化后的氣流排于大氣中。




按自磨過程中是否添加金屬磨碎介質分,可分為全自磨和半自磨。仝自磨時不添加金屬磨碎介質。半自磨時添加少量的鋼球,以彌補礦石中粗粒級的不足和用以研磨難磨粒級。在一段和兩段自磨中,均有采用此種方法的,它對強化自磨過程起著顯著的作用。
對于難磨粒級的處理方法,除了可采用半自磨外還有三種。一種方法是閉路循環,但易形成難磨粒級的累積,造成自磨機生產能力的降低。第二種方法是將難磨粒級從自磨機中引出,將其破碎到!" 毫米以下后再返回自磨機,它對處理致密而堅硬的礦石很有效。第三種方法是在自磨機的排礦格子板上開設礫石窗,將難磨粒級排出作為下段礫磨機的礫介。
自磨回路中分級作業有三種形式。第一種是開路方式,自磨的產物不返回,直接進下段作業處理。第二種為閉路方式,自磨的產物經分級后,不合格產物全部返回再磨。第三種為半閉路方式,即自磨產物經分級選別后,不合格產物部分返回再磨。
下一篇:干式自磨系統——風路系統的分類