作者:紅星機器時間:2010-10-08更新時間:2010-10-08
如果您想了解我們的產品,可以隨時撥打我公司的銷售熱線或點擊下方按鈕在線咨詢價格!
立即撥打電話享更多優惠:0371-67772626
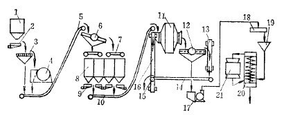
一段閉路濕式自磨系統,如圖1所示。

圖 1
物料合并,用帶式運輸機5送到貯礦倉8。為了給自磨機配礦,在貯礦倉8上設有振動篩6,將粗碎后的原礦分成為350-100毫米與100-0毫米兩個級別(即人工配比),分別用可逆帶式運輸機7卸入貯礦倉8內。存于礦倉內的礦石由電振給礦機19按比例給到集礦帶式運輸機10,輸送到自磨機11內。自磨機與直線振動篩12構成半閉路循環,自磨機的排礦經直線振動篩12分級后,篩上產物在由三條帶式運輸機13、14、16返回自磨機的過程中,在第二條帶式運輸機14的首輪處安有磁滑輪15,篩上產物被分成為磁性產物和非磁性產物,磁性產物返回自磨機再磨,非磁性產物接近尾礦品位,故丟棄。直線振動篩的篩下產物用泵17揚到礦漿分配器18,經永磁磁力脫水槽19脫泥后自流到第二磨礦段,第二磨礦段為螺旋分級機20作預先檢查分級與格子型球磨機21,組成的閉路循環。分級溢流細度為80%-200目,為自磨系統合格產物。